ПР 74.78.12

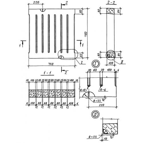
Чертеж изделия:
Характеристики изделия:
ПараметрЗначение
длина780 мм
ширина740 мм
высота120 мм
вес153 кг
шифрВ 019

ПР 74.78.12 Плиты решётчатые по Шифру В 019.