ФМ 30

Чертеж изделия:
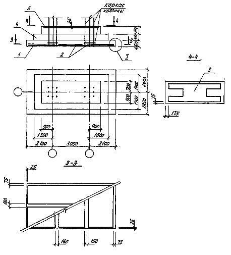
Характеристики изделия:
ПараметрЗначение
длина7200 мм
ширина3600 мм
высота1500 мм
масса61050 кг
нормативный документСерия У 01-02/89

ФМ 30 Фундаменты монолитные по Серии У 01-02/89.