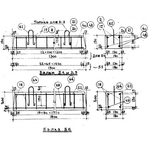
Б-4

Чертеж изделия:
Характеристики изделия:
ПараметрЗначение
длина1300 мм
ширина180 мм
высота150 мм
вес91 кг
серияТС 01-01

Б 4 Балки перекрытия по серии ТС 01-01.