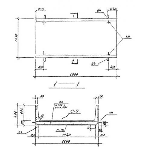
КН-4

Чертеж изделия:
Характеристики изделия:
ПараметрЗначение
длина1990 мм
ширина1640 мм
высота490 мм
масса1050 кг
нормативный документСерия 3.903 КЛ-14

КН-4  Каналы непроходные по Серии 3.903 КЛ-14.