Р5

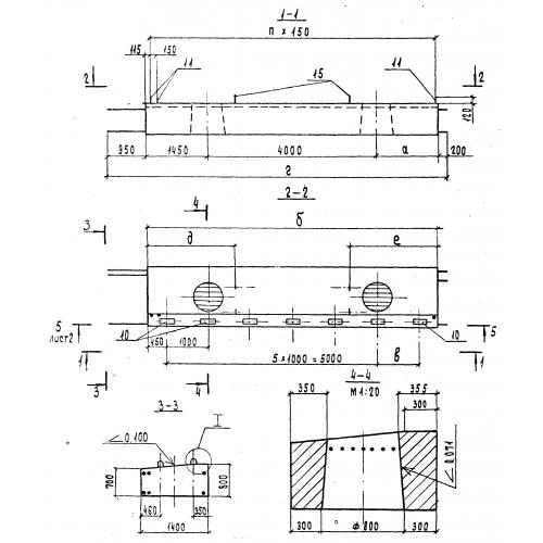
Чертеж изделия:
Характеристики изделия:
ПараметрЗначение
длина7100 мм
ширина1700 мм
высота700 мм
вес16750 кг
нормативный документСерия 3.503.1-95

Р5 Блоки ригеля по Серии 3.503.1-95.