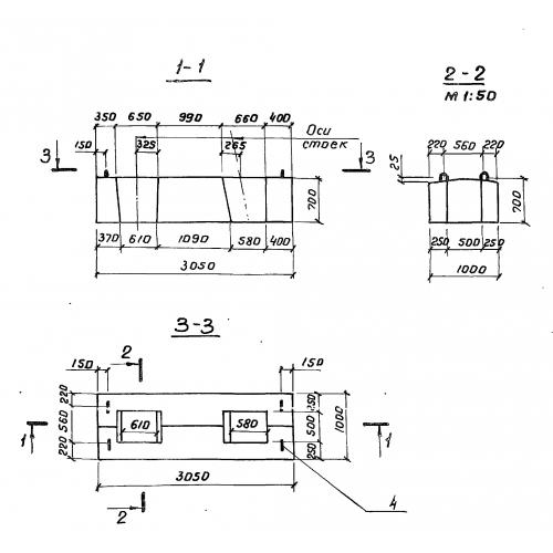
ПК 305

Чертеж изделия:
Характеристики изделия:
ПараметрЗначение
длина3050 мм
ширина1000 мм
высота700 мм
вес4300 кг
серия3.503.1-57

ПК 305 Блоки подколонника по серии 3.503.1-57.