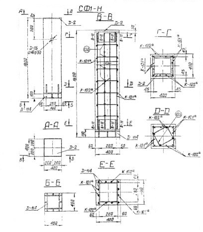
СФ 1 Стойка фундамента

Чертеж изделия:
Характеристики изделия:
ПараметрЗначение
длина1800 мм
ширина400 мм
высота400 мм
масса700 кг
нормативный документСерия 3.407-115

СФ 1 Стойки фундаментов Серия 3.407-115.