РПС 12.37.5

Чертеж изделия:
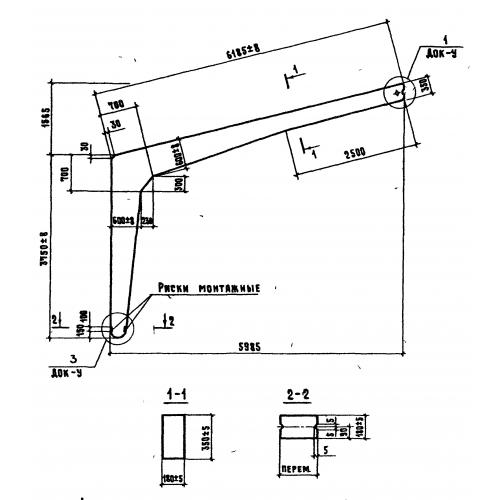
Характеристики изделия:
ПараметрЗначение
длина6185 мм
ширина180 мм
высота5315 мм
вес2800 кг
серия1.822.1-6

РПС 12.37.5 Полурамы сельскохозяйственные прямоугольного сечения по серии 1.822.1-6.