ПР 30.15

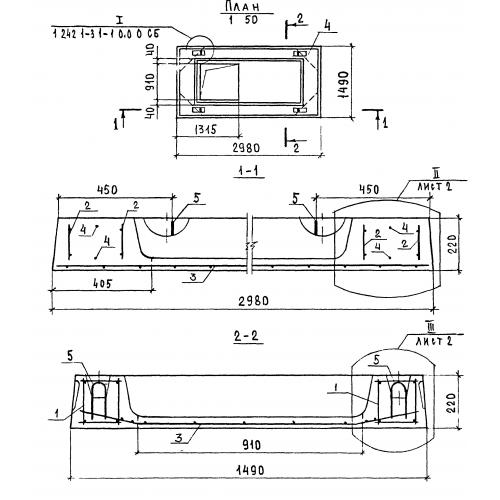
Чертеж изделия:
Характеристики изделия:
ПараметрЗначение
длина2980 мм
ширина1490 мм
высота220 мм
вес1330 кг
серия1.242.1-3

ПР 30.15 Плиты ребристые по серии 1.242.1-3.