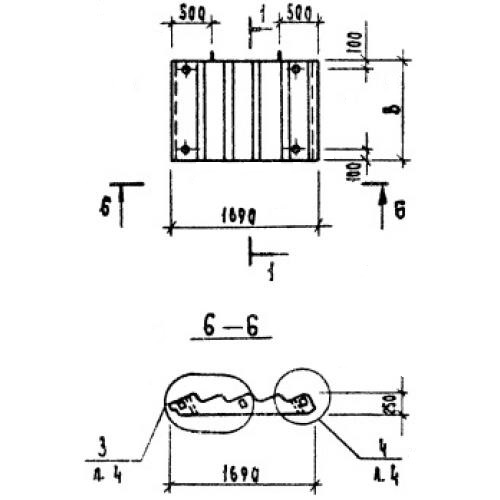
ЛМ 17.12.9 лестничные марши
Характеристики изделия:
| Параметр | Значение |
|---|---|
| длина | 1690 мм |
| ширина | 1200 мм |
| высота | 900 мм |
| масса | 930 кг |
| нормативный документ | Серия 1.151.1-7 |
Цена:
Рассчитать стоимостьЛМ 17.12.9 Лестничные марши без фризовых ступеней Серия 1.151.1-7.
