1ПР 18

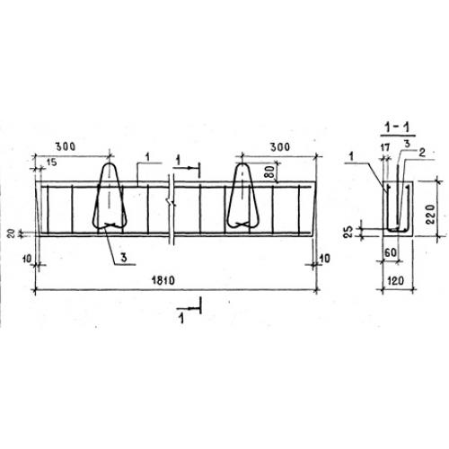
Чертеж изделия:
Характеристики изделия:
ПараметрЗначение
длина1810 мм
ширина120 мм
высота220 мм
вес119 кг
серия1.138-10

1ПР 18 Перемычки брусковые по серии 1.138-10.