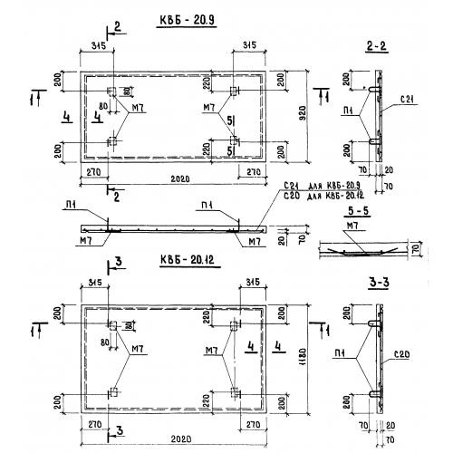
КВБ 20.9

Чертеж изделия:
Характеристики изделия:
ПараметрЗначение
длина2020 мм
ширина920 мм
высота70 мм
вес350 кг
серия1.134-3

КВБ 20.9 Крышки вентиляционного блока по серии 1.134-3.