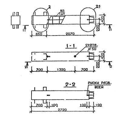
КВ 36

Чертеж изделия:
Характеристики изделия:
ПараметрЗначение
длина2720 мм
ширина400 мм
высота400 мм
масса1087 кг
нормативный документСерия 1.020.1-2с/89

КВ 36  Колонны верхние Серия 1.020.1-2с/89.