ТТ 9

Чертеж изделия:
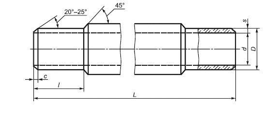
Характеристики изделия:
ПараметрЗначение
длина3950 мм
ширина168 мм
высота168 мм
масса72,28 кг
нормативный документГОСТ 31416-2009

ТТ 9  Хризотилцементные напорные трубы отопления  ГОСТ 31416-2009.