С 25.2

Чертеж изделия:
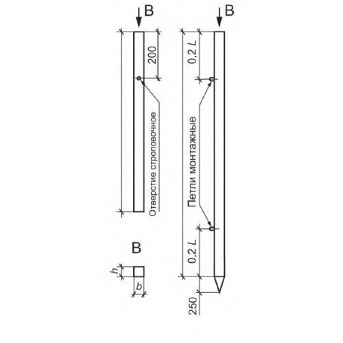
Характеристики изделия:
ПараметрЗначение
длина2500 мм
ширина200 мм
высота200 мм
масса250 кг
нормативный документГОСТ 24155-2016

С 25.2 Стойки по ГОСТ 24155-2016.